1. Giới thiệu chung
Van giảm áp TPR-113F nhãn hiệu TLSH-France là van giảm áp dạng ren (threaded type), chuyên dùng để ổn định áp suất đầu ra trong các hệ thống cấp nước. Van có khả năng điều chỉnh áp suất đầu ra trong phạm vi 1–6 bar, giúp bảo vệ thiết bị và đường ống khỏi tình trạng quá áp.
Thiết kế ren chuẩn ISO 228-1 giúp dễ dàng lắp đặt trong các hệ thống dân dụng và công nghiệp vừa và nhỏ. Van được chế tạo từ đồng thau cao cấp, bền bỉ và chống ăn mòn, phù hợp sử dụng lâu dài trong môi trường nước sạch.

2. Ứng dụng
- Hệ thống cấp nước dân dụng và công nghiệp.
- Mạng lưới phân phối nước sinh hoạt.
- Hệ thống bảo vệ thiết bị vệ sinh, máy nước nóng, bồn chứa.
- Hệ thống điều áp cục bộ cho các khu dân cư hoặc tòa nhà cao tầng.
3. Thông số kỹ thuật
Thông số |
Giá trị |
Kiểu kết nối |
Ren theo chuẩn ISO 228-1 |
Áp suất đầu vào tối đa |
16 bar |
Áp suất đầu ra điều chỉnh được |
1 – 6 bar |
Áp suất cài sẵn tại nhà máy |
3 bar |
Nhiệt độ làm việc tối đa |
+80°C |
Áp suất thử vỏ (shell test) |
24 bar |
Áp suất thử ghế (seat test) |
16 bar |
Tiêu chuẩn thử áp lực |
EN 12266-1 |
Kích cỡ |
DN15 – DN50 (1/2” – 2”) |
Ghi chú |
Không bao gồm đồng hồ áp suất |
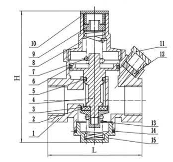
4. Vật liệu cấu tạo

STT |
Bộ phận |
Vật liệu |
1 |
Thân van (Body) |
Đồng (Brass) |
2 |
Đĩa van (Disc) |
Đồng (Brass) |
3 |
Đệm kín (Seat) |
NBR |
4 |
Trục van (Stem) |
Đồng (Brass) |
5–6 |
O-ring |
NBR |
7 |
Lò xo (Spring) |
Thép (Steel) |
5. Ưu điểm nổi bật
- Điều chỉnh áp suất đầu ra linh hoạt, giúp bảo vệ đường ống và thiết bị phía sau.
- Thiết kế nhỏ gọn, dễ lắp đặt cho các hệ thống cấp nước dân dụng.
- Toàn thân bằng đồng, chống ăn mòn, đảm bảo tuổi thọ cao.
- Không cần nguồn điện hay thiết bị hỗ trợ, vận hành tự động hoàn toàn.
- Thử áp theo chuẩn châu Âu, đảm bảo chất lượng và độ an toàn.