1. Giới thiệu chung
Van xả khí tự động TAV-103 SP là thiết bị chuyên dùng để loại bỏ khí hoặc bọt khí dư thừa trong hệ thống đường ống nước, đặc biệt tại các điểm cao nơi khí dễ tích tụ. Thiết bị sử dụng cơ chế phao nổi bên trong để tự động mở – đóng lỗ thoát khí khi áp suất thay đổi, đảm bảo hệ thống luôn vận hành ổn định, không có hiện tượng “kẹt khí”, mất áp hoặc gây tiếng ồn.
Với thiết kế nhỏ gọn, kết nối ren và vật liệu đồng thau, sản phẩm dễ dàng lắp đặt trong nhiều hệ thống cấp nước hoặc HVAC.


2. Ứng dụng
- Hệ thống cấp nước sinh hoạt hoặc công nghiệp.
- Hệ thống điều hòa không khí trung tâm (HVAC).
- Hệ thống nước nóng – lạnh, đường ống kín có khả năng sinh khí.
- Trạm bơm và các điểm cao trên đường ống dẫn nước.
3. Nguyên lý hoạt động
- Khi có khí hoặc bọt khí trong hệ thống, khí sẽ đi vào buồng van và đẩy phao xuống, mở lỗ xả khí ra ngoài.
- Khi không còn khí, nước sẽ dâng lên trong buồng van → phao nổi lên → đóng kín lỗ xả.
- Quá trình này diễn ra hoàn toàn tự động, không cần điều khiển thủ công.
4. Thông số kỹ thuật
Thông số kỹ thuật |
Giá trị |
Kiểu van |
Van xả khí tự động dạng ren |
Kích cỡ danh định (DN) |
DN15 – DN25 |
Áp suất làm việc |
10 bar |
Áp suất kiểm tra thân van |
15 bar |
Nhiệt độ làm việc |
+110°C |
Tiêu chuẩn kết nối |
ISO 228-1 (ren ngoài) |
Tiêu chuẩn kiểm tra áp |
EN 12266-1 |
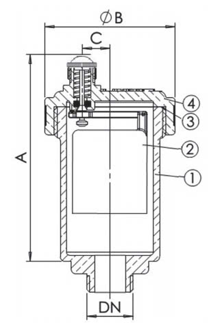
5. Cấu tạo vật liệu
STT |
Bộ phận |
Vật liệu |
1 |
Thân van (Body) |
Đồng thau (Brass) |
2 |
Phao nổi (Float) |
Nhựa Polypropylene |
3 |
Vòng đệm (O-ring) |
EPDM chịu nhiệt và ăn mòn |
4 |
Nắp van (Bonnet) |
Đồng thau (Brass) |
6. Ưu điểm nổi bật
- Tự động hoàn toàn, không cần can thiệp thủ công.
- Thiết kế nhỏ gọn, dễ lắp đặt, phù hợp với không gian hẹp.
- Vật liệu đồng thau và nhựa chất lượng cao, chống ăn mòn và chịu nhiệt tốt.
- Hoạt động chính xác, đảm bảo hệ thống không bị mất áp do khí tích tụ.
- Ứng dụng linh hoạt, phù hợp nhiều loại hệ thống kỹ thuật công trình.